XBY24/36矿用隔爆型显示器(以下简称显示器),适用于具有爆炸性气体混合物(甲烷)环境和煤尘的煤矿井下。在交流50Hz电压24/36V或直流24/36V电源的掘进机、电机车上,用作监控和视频终端摄像之用。也可应用于煤矿井下具有24/36V电源的避难峒室、避难舱等救生设备系统中播放必要的图像画面。
显示器按Q/SGJ.49-2013《矿用隔爆型显示器》等有关标准设计、制造与检验。显示器的设计与制造符合GB3836.1~3《爆炸性环境用电气设备》标准的要求。
执行标准:
GB3836.1~3-2010、
Q/SGJ.49—2013
产品特点:高清显示 安全操作
防爆型式:矿用隔爆型
防爆标志:ExdI Mb
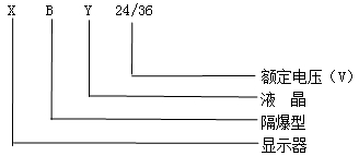
型号含义
技术参数
| 额定电压 | 屏幕尺寸 | 额定电流(A) | 防爆标志 | 最大电缆外径φ | 工作电压 | 耐压值 |
| (V) | (吋) | (㎜) | (V) | (V) | ||
| 24/36(交直流通用) | 9 | 0.5 | ExdI Mb | 9 | 24/36 | 1000 |









