前段时间,犀灵机器人培训中心又加了新设备。现在中心所拥有的设备包括工控基础知识培训设备、国产机器人设备、库卡机器人设备、喷涂工作站、焊接工作站、抛磨工作站、去毛刺工作站、倍速链流水线设备。其中倍速链流水线设备是中心近期新增的设备,陆续会有新的设备补充进来,今天我们来聊聊倍速链这套设备是啥,都能干些啥。
有些人觉得倍速链和工业机器人是一个相互替代的关系,其实不然,你简单想象下,多台工业机器人或智能制造装备组成的高端装配流水线,实际上就是一个工业机器人群为核心的制造执行系统,也是所谓的智能化生产线、智慧车间、智慧工厂等概念。

倍速链流水线
倍速链广泛地应用于各种电子电器、机电等行业生产线。
主要用于装配及加工生产线中的物料输送,其输送原理是运用倍速链条的增速功能,使其上承托货物的工装板快速运行,通过阻挡器停止于相应的操作位置,或通过相应指令来完成积放动作及移行、转位、专线等功能。
【01】倍速链的结构组成

图1 倍速链的外形图

图2 倍速链结构图
1-外链板;2-套筒;3-销轴;4-内链板;5-滚子;6-滚轮
(1)零件材料
通常情况下,滚子、滚轮是工程塑料材料注塑而成的,只有在载重情况下才使用钢制材料,除此以外,其余零件都为钢制材料。
(2)零件连接方式
倍速链的结构与普通双距滚子链的结构类似,其中:
①销轴与外链板:销轴与外链板采用过盈配合,构成链节框架。
②销轴与内链板:销轴与内链板均为间隙配合,以使链条能够弯曲。
③销轴与套筒:销轴与套筒一般有两种连接方式,如图3所示。
其中一种为套筒插入内链板并与内链板过盈配合,如图3(a)所示;另一种为套筒不插入内链板,直接将套筒空套在销轴上,如图3(b)所示。两种情况下套筒与销轴之间都为间隙配合。

图3 销轴与套筒的连接方式
注:(a)套筒插入内链板并与其过盈配合;(b)套筒不插入内链板
④套筒与滚轮:套筒与滚轮之间是间隙配合,它们之间可以发生相对转动。
⑤滚轮与滚子:滚轮与滚子之间是间隙配合,它们之间可以发生发生相对转动,以减少他们工作时相互之间的磨损,这对于连续长距离的输送非常重要。
(3)连接链节
为了组成一个封闭的环形结构,倍速链与其他滚子链一样也需要一个连接件,称为连接链节,连接链节将链条两端连接后,还必须装入止锁件,防止连接链节脱落。图4所示为常用的两种止锁件结构,其中图4(a)为开口销,将开口销插入销孔后向外侧弯曲即可;图4(b)为弹性锁片,将其插入两个销轴上即可。

图4 链条的连接方法
(a)开口销连接;(b)弹性锁片连接
02倍速链的工作原理
(1)各零件的作用
在图2所示的倍速链结构图中,各零件的作用分别为:
①滚轮
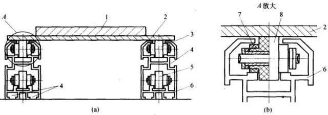
倍速链在使用时直接通过滚子放置在链条下方的导轨支撑面上,滚子与支撑面直接接触,滚轮的下方是悬空的,而滚轮的上方则直接放置装载工件的工装板,因此滚轮是直接的承载部件,既要承受工装板的重量,还要承受工装板上被输送工件的重量。图5(a)所示为倍速链在输送物料时的工作情况,图5(b)为局部放大图。

图5 倍速链使用示意图
倍速链使用示意图
(a)倍速链工作情况;(b)A处局部放大图
1-工件;2-工装板;3-输送段;4-螺栓安装孔;5-返回段;6-导轨;7-滚子;8-滚轮
②滚子:滚子是直接的承载部件,既要承受通过滚轮传递而来的工装板的重量及工装板上被输送工件的重量,又要在导轨上滚动前进,同时链条的驱动是通过驱动部位链轮的轮齿直接与滚子啮合来进行的。
③内外链板、销轴:内外链板及销轴是链条的连接件,使单个的滚子滚轮串联成链条。
④套筒:套筒作为减小销轴与滚轮之间的摩擦,保护销轴。
【2】倍速链的增速原理
倍速链之所以被称为倍速链、差速链、差动链,就是因为它具有特殊的增速效果,也就是放置在链条上方的工装板(包括工装板上放置的被输送工件)的移动速度大于链条本身的前进速度。这一效果是由于倍速链的特殊结构产生的,下面对产生上述增速效果的原因进行简单的分析计算。
如果取链条中的一对滚子滚轮为对象,分析器运动特征,其运动简图如图6所示。

图6 倍速链增速效果原理示意图
在图6所示的模型中,加速滚子滚轮机构在以下条件下运动:
①滚子在导轨上滚动,而且滚子与导轨之间的运动为纯滚动;
②滚子与滚轮之间没有相对运动;
③工装板(上面放置工件)与滚轮之间没有相对运动。
设链条的前进速度为v0,工装板(工件)的前进速度为v,滚子的直径为d,滚轮的直径为D。
根据上述假设,由于滚子、滚轮之间没有相对运动,在滚子、滚轮滚动的瞬间可以将它们看做是刚性连接在一起的,两者瞬间的滚动可以看作是以滚子与导轨接触点P点为转动中心的转动。
假设滚子及滚轮上述瞬时转动的角度为w,因此滚子几何中心的切线速度就是链条的前进速度v0,而滚轮上方定点的切线速度就是工装板(工件)的前进速度v,因而有
v0=wd/2 (公式1)
v=w(d/2+D/2) (公式2)
根据式1、式2可以得出v=(1+D/d)v0 (公式3)
其中,d——滚子直径;
D——滚轮直径;
w——滚子及滚轮的瞬时转动角速度;
v0——滚子几何中心的切线速度(链条的前进速度);
v——滚轮上方顶点的切线速度(工装板或工件的前进速度)。
分析:对公式3进行分析可以发现,由于滚轮直径D可以成倍地大于滚子直径d,因此工装板(工件)的前进速度v可以使链条前进v0速度的若干倍,这就是倍速链的增速效果原理,增大滚轮滚子的直径比D/d就可以提高倍速链的增速效果。
实际上前面的假设与实际情况是由一定距离的,各运动副之间不可避免地存在移动摩擦,滚子与导轨之间也可能产生一定的滑动,所示实际的增速效果要比公式3的理论计算值小。
增速效果是倍速链的一个重要技术指标,质量差的链条由于设计与制造精度较差,其增速效果将会很差。由于增速效果与滚子、滚轮的直径直接相关,根据公式3可知,只要增大滚轮滚子的直径比D/d就可以提高倍速链的增速效果,而要增大滚轮的直径受到链条节距的限制,而减小滚子的直径也一定受到链条结构的限制,所以倍速链的增速幅度是有一定限制的,通常的增速效果为v=(2~3)v0,常用的规格为2.5倍速输送链和3倍速输送链。
【03】倍速链的应用行业
自流式输送系统广泛地应用于各种电子电器、机电等行业生产线。倍速链流水线最常用的行业有:电脑显示器生产线、电脑主机生产线、笔记本电脑装配线、空调生产线、电视机装配线、微波炉装配线、打印机装配线、传真机装配线、音响功放生产线、发动机装配线。


